青岛西海岸新区现有7例新冠肺炎(NCP)患者正在定点医院接受治疗
2020-02-09 14:18
来源:青岛西海岸新区卫生健康
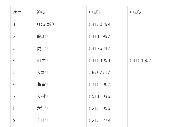
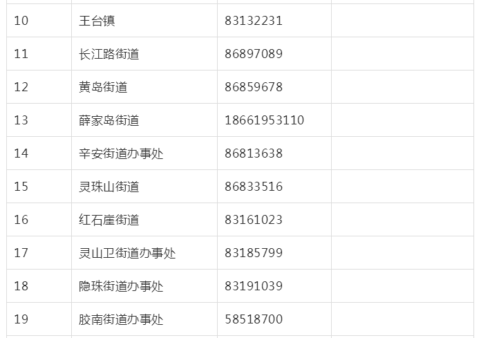
截至2月8日24时,青岛市卫健委官方网站公布西海岸新区新冠肺炎患者10例,其中3例患者(第1例、第3例、第5例)已出院,其余7例患者(重症1例,其余患者病情稳定)均在定点医院接受隔离治疗。新区第2例患者(青岛市第7例患者):57岁女性,居住地:青岛西海岸新区隐珠街道欧美世纪花园,1月13日到云南旅游,随团接触过2名武汉籍发热患者,1月25日到医院发热门诊就诊,于1月26日确诊。新区第4例患者(青岛市第12例患者):32岁女性,居住地:青岛西海岸新区隐珠街道欧美世纪花园,是新区第2例患者的女儿,因密切接触,于1月27日确诊。新区第6例患者(青岛市第20例患者):6岁女性,居住地:青岛西海岸新区隐珠街道欧美世纪花园,是新区第4例患者的女儿,因密切接触,于1月30日确诊。新区第7例患者(青岛市第22例患者):53岁女性,居住地:青岛西海岸新区辛安街道江山北路13号鲁泽观天下,1月4日自青岛赴湖北孝感探亲,1月25日回青岛,1月31日到医院发热门诊就诊,于2月1日确诊。新区第8例患者(青岛市第23例患者):46岁女性,居住地:青岛西海岸新区黄岛街道郭家台子村,为新区第5例患者的小姑,因密切接触,于2月2日确诊。新区第9例患者(青岛市第26例患者):38岁男性,居住地:青岛西海岸新区张家楼镇北寨村,因与新区第2例患者有共同就诊史,于2月3日确诊。新区第10例患者(青岛市第47例患者):32岁女性,居住地:青岛西海岸新区长江路街道凤凰国际小区,河南返青人员,其父亲在河南于2月7日被确诊,因密切接触,于2月8日确诊。以上患者共有35名密切接触者,均已实行集中隔离观察,目前无异常。1.第一时间向所在社区、村庄报告,社区、村庄须第一时间向所在镇(街)报告,各镇(街)严格落实防控责任。3.居家隔离人员如有需求可致电所在镇(街)新型冠状病毒肺炎疫情防控指挥部(电话附后),由专业人员为您解答指导。请市民朋友密切关注身边14天内,居住或到过湖北及其他有病例报告地区的来青人员。如有发现,请第一时间向所在镇(街)新型冠状病毒肺炎疫情防控指挥部提供详实线索。我们将对您的个人信息严格保密!青岛西海岸新区疫情防控各镇街通讯录


