近日,
青岛市市场监督管理局
根据食品安全抽检计划要求,
开展了节日市场流通和餐饮环节
食品安全监督抽检工作。

图片截取自青岛市市场监督管理局官网
据了解,
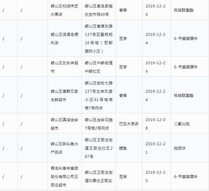
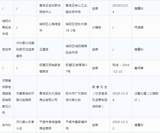
本次抽检食品样品共1072批次,
根据食品安全国家标准检验和判定,
其中合格样品1019批次,
不合格样品53批次。
经梳理发现,
七区三市均有不合格样品检出!
一些大家经常去的商超、
农贸市场、饭店也在列!
而抽检的不合格项目涉及
毒死蜱、腐霉利、大肠菌群等......
具体名单如下,
看看有没有你常去的
↓↓↓










以上信息仅指本次抽检标称的生产企业相关产品的生产日期/批号和所检项目。内容整理自青岛市市场监督管理局官网。
临近春节,
大家购买年货、聚餐频繁,
快扩散提醒朋友们!
来源:青岛日报、青岛市市场监督管理局官网


